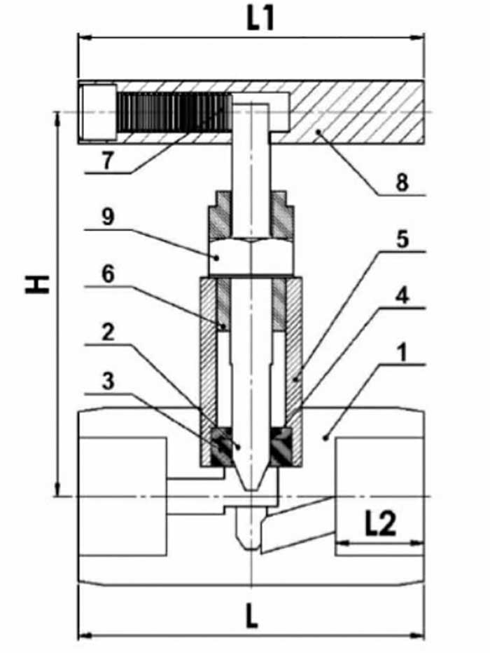
İğne Vana Teknik Resim
Stokta Var
Pnömatik pistonlu vanalar, aktüatöre verilen hava gücüyle birlikte pistonun oturma yüzeyinden (seat) uzaklaşarak lineer hareket ile akışı kesmesini veya açmasını sağlayan vanalardır. Aktüatöre hava verilmediği müddetçe pnömatik pistonlu vana, yayın gücü ile birlikte kapalı konumda kalır ve akışkanın geçmemesini sağlar. İyi bir sızdırmazlık ve uzun ömre sahiptir.





